


Company Information
Ask for more detail from the seller
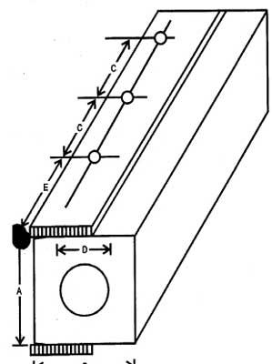
Contact SupplierWe are engaged in manufacturing and exporting Hollow Square Fender that is fabricated to be use at small ports, pontoon, fishing, boats, small vessels, barges, MA Chine structures etc. Specifications : A & BVDEBOLTFLAT BAR150 X 150300-3506475M 1665 X 6200 X 200300-40075100M 2080 X 10250 X 250350-450100125M 24100 X 12290 X 290350-450120150M 24100 X 12300 X 300350-450125150M 24120 X 15350 X 350350-450150150M 30150 X 18
| A & B | V | D | E | BOLT | FLAT BAR |
|---|---|---|---|---|---|
| 150 X 150 | 300-350 | 64 | 75 | M 16 | 65 X 6 |
| 200 X 200 | 300-400 | 75 | 100 | M 20 | 80 X 10 |
| 250 X 250 | 350-450 | 100 | 125 | M 24 | 100 X 12 |
| 290 X 290 | 350-450 | 120 | 150 | M 24 | 100 X 12 |
| 300 X 300 | 350-450 | 125 | 150 | M 24 | 120 - 15 |
| 350 X 350 | 350-450 | 150 | 150 | M 30 | 150 X 18 |

